28
THE POPULAR SCIENCE MONTHLY
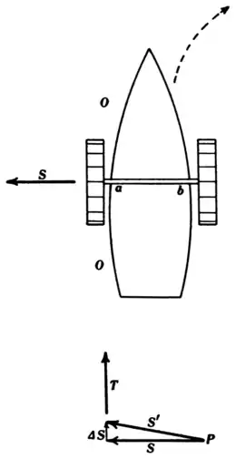
momentum, and the arrow T represents the torque which must act upon the paddle-wheel shaft. To produce this torque the bearing a must push upwards on the crank shaft, and the
Fig. 18. bearing b must push downwards on the crank shaft, or in other words, the crank shaft must push downwards on bearing a and upwards on bearing b, so that the gyrostatic reaction of the paddle wheels and crank shaft causes the boat to list, sinking the side OO of the boat deeper into the water as it turns round in the direction of the curved arrow in Fig. 18.
Fig. 19 is a side view of a boat driven by a steam turbine and propeller. The most serious gyrostatic action occurs in this case when the boat is pitching violently in a rough sea, and Fig. 19 is intended to represent the bow of the boat as rising as represented by the curved dotted arrow. Under these conditions the arrow S in the vector diagram represents the spin-momentum of the steam turbine and propeller shaft at a given instant, S' represents the spin-momentum at a later

instant, ΔS represents the increment of spin-momentum, and the